找回密码
 立即注册
澳门威尼斯人
U8
U18
海燕招商
A
蓝盾
e世博
islot.
申博亚洲
B
开云
腾博会
德信
C级广告商
吉祥坊
米兰
华体会
查看: 79994|回复: 66

[成长进阶] 【征文活动】浅谈菠菜职业玩家的自我管理能力

[复制链接]

1928

主题

3万

回帖

3176

金币

铂金用户

积分
98247

万时之王老会员超级精华精华勋章勤奋勋章交易勋章

发表于 2025-6-30 16:52 | 显示全部楼层 |阅读模式

马上注册,结交更多好友,享用更多功能,让你轻松玩转社区。

您需要 登录 才可以下载或查看,没有账号?立即注册

×
   
5 L  Z/ q% _$ O5 v6 e0 ?2 @) y    作为一个职业菠菜玩家,提高自我管理能力,是非常重要的一件事情。自我管理不仅涉及时间的合理安排,更是一种内在自我控制力和对菠菜盈利目标坚定追求的完美融合。以下是自己这么多年在菠菜行业摸爬滚打出来的一些浅显经验,不是很成熟,自己也未必能做的很好,但还是就此分享出来,也是与诸位燕友共享之。
" N7 T* D( n9 Z8 b5 W& }1 J$ Y4 S% [3 H3 G( J0 d6 k: T4 {
0 d- B( T$ d5 H: }- k6 m, E( [
  一、明确目标,制定计划
4 ?  V: C! u. I, A6 i- L! T+ W0 l; k
7 ^* v( }" }$ b5 m% g9 L
   设定清晰明确的菠菜目标是自我管理的第一步。无论是短期任务还是长期规划,都需要有一定的、明确的方向。根据SMART原则(具体、可衡量、可实现、相关、时限明确)来设定相关菠菜目标,可以确保目标的可行性与可操作性。
& A7 r5 `- Z1 e2 T9 F  {+ a* D! V2 G. R3 j& {; M8 [

$ Y+ S$ N  }0 k4 Q    先从自己本周的一个目标说快来吧。
; M0 h) M, P- G# V
. K: l; u) I& E* C; S+ y( L9 h% l
' W8 R4 B" b5 \- N
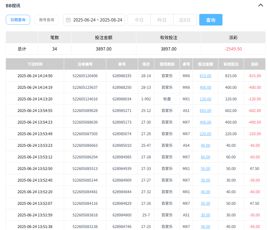
    下图是自己这个月的战绩统计报表。3 x, x: b9 N6 o& m5 m4 @

* A3 {9 m# V& Q+ E0 W; r) W7 j
5 y! R+ L( X/ E6 v
QQ20250630-152805.jpg
, |4 ~9 e7 f. m0 ?: Q
7 W+ F/ f' _% S, X* p! c    从报表上可以看出来,自己本月的盈利巅峰是在23号,累计盈利1.41万元,然后24号那天,盈利1200元没有知足,反而倒输了1800多元。之后心态就是有点反复,24-28号五天时间,是累计亏损了7600多元。那么,在这种极端被动的情况下,自己是如何明确目标,制定计划的呢?- T9 E5 n+ [' V) W& S. H

+ `) N$ t, f4 I) k+ [5 U

% I, T$ {& f& w7 o     1、最近资金非常匮乏了,手头只有2000不到的应急资金了,也是暂时不敢动用了。因为自己的生活费用开销(买菜做饭、香烟、宽带、电费水费天然气费等等)都是是需要维持和有保障的,否则的话,会严重影响自己菠菜作战的心态。
3 z0 Z) N  O" H; p* `" [  `  Y8 B
5 j# H) G) f3 D8 l. c# a
     2、然后29号靠17块钱反水和彩金,通过两场战斗,打到174收手,让自己赢一天,恢复一点信心。(同时兼顾了实战发帖)" T7 ?: ~) c- Q; J3 m

8 W, P+ l+ G( v' ~, {/ E+ P3 A

: E2 ]# _( {& ~ 再起的火种2.jpg 再起的火种.jpg
7 A  I# t3 ?/ A QQ20250630-002226.jpg QQ20250630-001526.jpg $ b( @/ d9 L4 S5 S) p: J
2 {* R1 K+ f' z/ V, M1 Q) d
     3、刚才实战发帖,存款175到提款262,这样,今天也是休战了,让自己连赢两天来进一步恢复信心。(兼顾了论坛实战发帖)% P/ E( x! @# [; g
& ^8 b4 {6 r! j+ J& j

) n6 u& C# k$ H- p QQ20250630-150116.jpg QQ20250630-145428.jpg 1 }8 B( g  p& _8 M8 o. P; ]

4 S+ @$ Y5 s& n* T+ b9 V. k; D     4、借助明天金沙娱乐城会到账300兑换筹码,加上本金262,希望在本周之内,打到1000。
& s& X. q: O# n$ F( ~; t# t9 ?" P1 e: K/ o2 ?# `9 u( O
  o1 K' p0 z" v: @
     5、然后用着这个1000,打存送活动,尽量多赢一点,输点也是要做好止损。
1 p* G/ b6 q% q& I
+ y0 R0 L' K! e0 w, i9 G  G8 c

8 v% ?9 r, X- r' Y, M* ]; }# w3 S: W: f QQ20250630-000535.jpg QQ20250630-000217.jpg , C5 u, Z' M0 W
% v* T, D( D0 E6 r% L
下图是上周在这家公司的存款与取款截图,虽然其他公司输钱了,这家公司还是赢钱的)/ l2 ~3 l( V: s( ]; \6 x  h

. M5 H' O; H& m. }% j) Z& i) ]

0 O5 P: O/ ^2 m& x8 \) U6 D/ u QQ20250630-000247.jpg QQ20250630-000429.jpg 1 A# {$ l% w* X$ e
+ y# v2 ~2 U, z# D  q3 i
     6、完成论坛hhgame和金沙公司每天的签到(可以每天有一个3-8元的红包),同时完成实战发帖(自己两个实战发帖也是可以收入30元左右的金币),让自己的每一次作战,都是带有心理优势,有+ev。
! a! h. m! x/ A" h5 k$ K. Q( `2 w9 d/ r! w! D2 E2 Q
1 j! a+ ]% z9 |
     7、兼顾周四的ag大奖连连转活动,也是每周必须要参加的。因为每周四,四个公司每个公司玩ag1000流水,一共4000流水,可以必中一个,这几次比较少中奖只有80左右,上几次都是130左右,加上不中的账号有十几块钱的参与奖,也是有+ev的
/ b* s% C: B" W" K9 ~7 R8 V7 v: o% ?# q
9 r( ^' T+ U  j2 Z7 c' ?: O& l
QQ20250630-155728.jpg 大奖连连转.jpg & H  ~3 K  Z0 n
  k' f+ a6 F1 T  m) k. _. y
      8、至于最终这点钱能发育到多少(262+300),我可以负责任的说,今年以来,自己在上头惨败之后,通过类似的方式,多次200左右本金,打到15000以上,所以,信心是肯定有的。3 V% v' `+ T7 M6 W% g) Y
/ V* q5 g/ |8 S& z; l9 }& U

. |. |: b# X7 b9 p! ~8 N* Z      9、坚决不再胡乱充值投注,每一次存款战斗,都要有一定的目标,达到相应的效果。这样,心态上永远处于一定的上风,比如到周六,一定要有800-2000的资金到金沙打筹码兑换门票,继续为下一周的作战奠定良好的心理基础。$ J  N! A* M( N5 Y6 u

6 N- T2 {# O: X* u9 p* a( |) `
& h/ J) F& m8 R" U( _) b
     10、如果本周的计划未能达成,输了,那再考虑动用2000资金里面的一部分。但相信在这样一个丝丝入扣、良性循环的过程中,即使输钱了,也是可以收获不少信心的,为自己今后长远的菠菜作战目标,还是可以奠定很好的基础。# O6 J: n$ L2 T9 s" p7 ~4 F

5 j6 X: X6 Y) `# t% J- P( s3 U/ e

+ {9 s) C- ]7 y5 a( x& z- _: C      二、 科学管理时间,提高效率,培养良好的习惯! }$ r  X+ ~# l2 ]0 C
7 O4 }4 f* @4 e) M
$ P8 w; i$ k( ?! w
       时间管理是自我管理的核心。通过合理安排工作与休息的时间,避免长时间无休止的工作,可以提高效率。5 L2 T0 {3 ?; |  ~
        . W. O) [7 o/ h
     作为一个职业玩家,最大的优势就是有很多时间菠菜,但是同时也是会造成恋战,烂赌。因此,我们一定要科学管理时间,(以前的征文中自己也是谈到类似华罗庚的科学统筹法,有兴趣的燕友也是可以去看一下)& m, u4 P" q( Y, s
- G. x1 A9 |) P8 z9 Q4 P

" a2 p4 b7 A" e& \" E" }4 s    我现在每天的时间管理就是坚持每天跟着80岁的老母亲学着种种菜,然后浇水施肥除虫也是样样开始精通了。每天散步,然后做一些美食,适当喝点小酒放松一下。一周外出一次,逛逛商场超市,洗澡做个按摩之类的。通过类似的这样的科学管理时间,有效的调整自己的心态,养成良好的生活习惯,让菠菜成为一种乐趣,而不是一种沉重的负担。" C( b6 r' M1 U* X2 }) d1 x. R
: g" u. k* j  |9 l; ^
( ?4 v" @/ Y( X
' c# X; C" D. T5 [1 e
     三、拒绝烂赌,专注于目标:避免浪费时间在与目标无关的事情上,坚决不乱充值,不烂赌,专注于目标。
. d4 C1 H. V% i8 R0 H7 j+ X/ s2 A2 F! f5 T5 g

; a* l* W" r: d  `: |" G; |8 z      其实几天前这一次的溃败,也是源于自己的一次烂赌。
& V8 s* L- I2 J% K+ A" h! Z! D; t" a& V7 W: r
/ F+ o6 ]* u+ x, O/ u8 w0 {
QQ20250630-154611.jpg QQ20250630-154723.jpg $ P  m) J9 v6 j5 ~6 `* Z5 ]
& W8 H0 W1 B/ F7 K1 N6 X- m; _1 J

9 x! X( Q  ~4 w& P$ |/ t3 M1 C       24号到深夜1点多钟,自己完成了当天的实战发帖,然后当天也是有盈利1200,根本就是没必要继续战斗了。结果那天自己有点兴奋,睡不着觉,然后发神经病,到一家公司存款1200,想用利润冲一下,结果惨遭洗白,后续就是有点忍不住了,二存1300多三手不中就是再次洗白,剩500多到另外一家公司梭哈洗白。钱包没有钱了,才消停,是不是很可笑?以前这家公司入款1+反水0.6,还有很多优惠活动,那去玩玩,还是有点理由的,可现在这家公司不给我优惠了,入款也是降成0.5+反水0.6,那我是有病才去他家玩的。
- Z$ f4 g0 X9 H, q" p
8 O; `& ]4 g0 ]( {1 a8 F+ O6 q

$ K, m$ g6 F0 y5 z+ {     所以,一定要拒绝自己的赌瘾,专注于自己的目标。(比如每天打卡,发实战贴)8 X% {1 R  [; w0 p+ c
. |' i0 E2 E) r0 q! H! e% C
' l; D( R, B% i' |0 M/ m
    四、定期回顾总结,不断改进。2 W' _8 }- Y0 D* r% m/ F* T

6 {6 g) a6 ~9 I- O' C7 p, Z- T
& F- `1 d" g" G; J, |
    通过自我反思,分析哪些做得好、哪些需要改进,并根据总结结果,调整行动计划。
& E; r2 N3 b( d; u8 k& `) ^8 y$ I' q

* f; `$ J0 @: N! J     五、设定现实的目标,不要追求完美。* C. c% l, @' _% V, W3 B9 q+ {1 m
1 N* |8 r; ~# _) p' a1 U
. O" q( U4 I1 Q9 I/ s: n
   设定合理的菠菜盈利目标,享受每一次小心成功的喜悦,从而让自己的心态,永远处于健康向上的状态,避免完美主义带来的压力和焦虑。9 j; w* D! @1 d
9 ?, i* O4 F* P) g0 i# M

7 \* o* I( ]! m7 r  J: V7 f# Y    六、保持耐心和毅力,不断加强自己的自控力: h# y4 U. P, D% n) ^
* `' |( B4 X0 |, K

! w7 l6 [6 S6 [' ^3 o# z     自我管理是一个长期的过程,需要耐心和毅力,相信自己,坚持下去,终将获得成功。. I. s& Y7 y. G4 B5 A! j
& |' Y, {2 ]! ~6 q) E9 D4 x$ L. g: T
: F2 n) a! p' [7 J; H1 g6 _
      这样,通过以上一些方法,可以逐步培养我们的自我管理能力,从而在菠菜这条路上,可以走的更稳、更踏实,成为更高效的自己!
+ J  g: u* w, `$ Y3 ?* K+ d
! @2 ~$ W0 e, a
# b3 q8 z- A- Q+ J
回复

使用道具 举报

1

主题

4365

回帖

2989

金币

银牌会员

积分
19084

老会员

发表于 2025-6-30 16:58 | 显示全部楼层
烂赌肯定是不行,往好的地方努力会赢,话说回来也看运气
回复 支持 反对

使用道具 举报

46

主题

1万

回帖

1149

金币

金牌会员

积分
24208

老会员

发表于 2025-6-30 18:46 | 显示全部楼层
楼主的这个记录,确实是很不错的,能够坚持下来,肯定是能够盈利的。
回复 支持 反对

使用道具 举报

755

主题

2万

回帖

1万

金币

铂金用户

积分
83292

老会员精华勋章魅力达人

发表于 2025-6-30 19:01 来自手机 | 显示全部楼层
职业玩家最基本的原则就是不能烂赌,管理好自己的赌瘾非常重要。
回复 支持 反对

使用道具 举报

1199

主题

3万

回帖

1万

金币

钻石用户

积分
111273

老会员交易勋章光影行者

发表于 2025-6-30 19:22 来自手机 | 显示全部楼层
楼主的自我管理能力还是比较强的了,不过也还是会有缺陷的了。
回复 支持 反对

使用道具 举报

1199

主题

3万

回帖

1万

金币

钻石用户

积分
111273

老会员交易勋章光影行者

发表于 2025-6-30 19:23 来自手机 | 显示全部楼层
shunlifeiup 发表于 2025-6-30 16:583 b* N/ {; b* ^8 N
烂赌肯定是不行,往好的地方努力会赢,话说回来也看运气

3 x4 f+ R2 S; h* t) m4 \+ X! }- r千万不要乱赌啊,真的是要好好的摆正自己的位置的了,调整自己的心态的了。
回复 支持 反对

使用道具 举报

1199

主题

3万

回帖

1万

金币

钻石用户

积分
111273

老会员交易勋章光影行者

发表于 2025-6-30 19:23 来自手机 | 显示全部楼层
linx1978 发表于 2025-6-30 19:01& R! X; E1 [0 [% s! N. z
职业玩家最基本的原则就是不能烂赌,管理好自己的赌瘾非常重要。

  B$ X  C2 ~6 t8 A4 Z; _3 ]玩到一个什么程度就要休息,我们是一定要好好的搞清楚的了。
回复 支持 反对

使用道具 举报

53

主题

9397

回帖

4086

金币

金牌会员

积分
25432

老会员

发表于 2025-6-30 19:26 | 显示全部楼层
老哥的自我管理能力是超强的,心态也好,也能执行到位,
回复 支持 反对

使用道具 举报

2万

主题

1万

回帖

2万

金币

版主

积分
94562

超级精华老会员版主勋章

发表于 2025-6-30 19:45 | 显示全部楼层
楼主的自我管理能力太强大了啊,每次都看到你超强的心态和好的策略
回复 支持 反对

使用道具 举报

2万

主题

1万

回帖

2万

金币

版主

积分
94562

超级精华老会员版主勋章

发表于 2025-6-30 19:45 | 显示全部楼层
青萍之末 发表于 2025-6-30 19:26! l$ ^9 Y4 C2 V2 `3 W4 v
老哥的自我管理能力是超强的,心态也好,也能执行到位,

& o% |! U& ~; C  @9 M这个论坛我最佩服的就是这位老哥了,竟然可以成为职业玩家
回复 支持 反对

使用道具 举报

480

主题

3万

回帖

4489

金币

铂金用户

积分
83693

老会员美女勋章勤奋勋章交易勋章

发表于 2025-6-30 20:09 | 显示全部楼层
有目标计划也是很不错的,赢回来是可以希望的,管理是必须的
回复 支持 反对

使用道具 举报

1804

主题

5万

回帖

5124

金币

钻石用户

积分
169582

万时之王老会员勤奋勋章交易勋章

发表于 2025-7-1 06:18 来自手机 | 显示全部楼层
shunlifeiup 发表于 2025-6-30 16:58; G) B, _& L1 \2 P+ p+ r5 J5 }8 y/ d
烂赌肯定是不行,往好的地方努力会赢,话说回来也看运气

1 b8 S# [5 r/ b哥,那当然是不行的了,确实没有运气,这个是很难赢钱
回复 支持 反对

使用道具 举报

1804

主题

5万

回帖

5124

金币

钻石用户

积分
169582

万时之王老会员勤奋勋章交易勋章

发表于 2025-7-1 06:18 来自手机 | 显示全部楼层
linx1978 发表于 2025-6-30 19:01# @$ ?4 p- a: _* N: n5 }
职业玩家最基本的原则就是不能烂赌,管理好自己的赌瘾非常重要。

. Q# H  [% X$ c3 o* a+ ~; I( R这个是必须要好好的管理好自己的,但是职业玩家应该是没有问题
回复 支持 反对

使用道具 举报

1804

主题

5万

回帖

5124

金币

钻石用户

积分
169582

万时之王老会员勤奋勋章交易勋章

发表于 2025-7-1 06:18 来自手机 | 显示全部楼层
不过我还是比较相信你的管理能力了,毕竟你作为职业已经是很不错了
回复 支持 反对

使用道具 举报

36

主题

1万

回帖

2083

金币

千足金牌会员

积分
44045

老会员美女勋章光影行者

发表于 2025-7-1 07:39 | 显示全部楼层
要做到自我管理就要确定好目标,做到计划,主要还是要执行到位
回复 支持 反对

使用道具 举报

您需要登录后才可以回帖 登录 | 立即注册

本版积分规则

广告合作|评测有奖|福利汇|论坛简介|钱包合集|手机版|小黑屋|Archiver|彩票开奖|海燕论坛

快速回复 返回顶部 返回列表