找回密码
 立即注册
澳门威尼斯人
U8
U18
海燕招商
A
蓝盾
e世博
islot.
申博亚洲
澳门银河
B
开云
腾博会
德信
C级广告商
吉祥坊
华体会
查看: 780|回复: 89

[彩票] 比特彩票走势不定艰难收904元

[复制链接]

54

主题

2673

回帖

1788

金币

银牌会员

积分
10222

老会员

发表于 2026-2-28 19:42 | 显示全部楼层 |阅读模式

马上注册,结交更多好友,享用更多功能,让你轻松玩转社区。

您需要 登录 才可以下载或查看,没有账号?立即注册

×
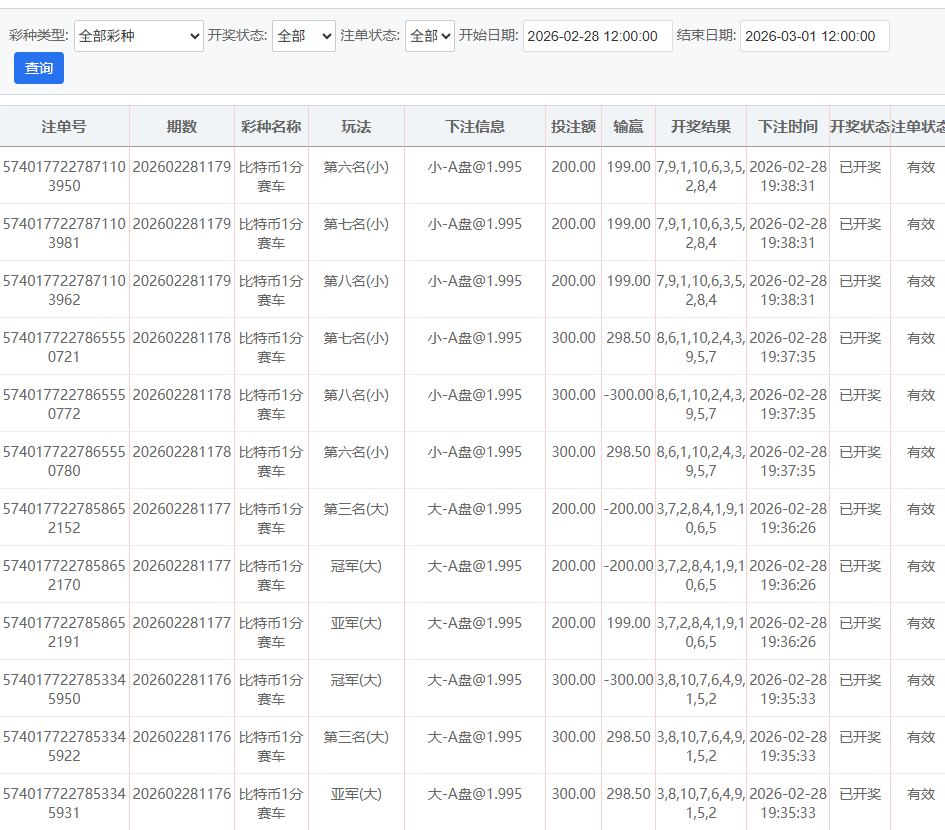
晚上继续着 70-150-200-300-500的战略彩票下注 三定位两面玩法,输了一直往上推到500赢后则从赢时的注码往下推到最低70的位置,投注9000多才收904元;: b' N, G8 e7 Z
* w; F1 k) h: w* u7 D5 R9 ^( [
$ O; j' D) }8 W4 F1 H0 Z/ U
2.png 3.png 1.png
/ B& s" ]- {9 R

评分

参与人数 1金币 +8 收起 理由
海燕RG + 8 实战分享

查看全部评分

回复

使用道具 举报

3401

主题

2万

回帖

1万

金币

版主

积分
90766

优秀版主老会员版主勋章超级精华

发表于 2026-2-28 19:50 | 显示全部楼层
主要还是要看胜率,否则很难扛得住了
回复 支持 反对

使用道具 举报

209

主题

1万

回帖

1392

金币

千足金牌会员

积分
42769

老会员

发表于 2026-2-28 20:13 | 显示全部楼层
这次幸运的,下次就得要再稳点才行呀
回复 支持 反对

使用道具 举报

1452

主题

1万

回帖

1万

金币

千足金牌会员

积分
59876

老会员财富勋章精华勋章交易勋章热心会员魅力达人

发表于 2026-2-28 20:29 | 显示全部楼层
这样的盈利已经很不错了
回复 支持 反对

使用道具 举报

7

主题

1万

回帖

8863

金币

铂金用户

积分
73703

光影行者

发表于 2026-2-28 20:36 | 显示全部楼层
这节奏太折磨人了,推注推到500才回血,9000砸下去就捞900多,心疼钱包
回复 支持 反对

使用道具 举报

7

主题

1万

回帖

8863

金币

铂金用户

积分
73703

光影行者

发表于 2026-2-28 20:36 | 显示全部楼层
笑看人生 发表于 2026-2-28 20:29
* J4 s2 G. u: r9 q, }5 T4 y这样的盈利已经很不错了

8 M1 X% {- n8 I7 P能稳住900+已经算硬核了,这走势能抠出来真不容易
回复 支持 反对

使用道具 举报

7

主题

1万

回帖

8863

金币

铂金用户

积分
73703

光影行者

发表于 2026-2-28 20:36 | 显示全部楼层
hy188820 发表于 2026-2-28 20:13
) w6 K0 l3 \7 I- f& _5 G2 |这次幸运的,下次就得要再稳点才行呀

* q' T0 h: i9 s0 f) J走势飘忽确实难搞,稳着来才能细水长流,下次别急着冲
回复 支持 反对

使用道具 举报

618

主题

9960

回帖

4701

金币

金牌会员

积分
37874

老会员

发表于 2026-2-28 23:27 | 显示全部楼层
如此丰厚的回报令人赞叹,这是楼主的实力
回复 支持 反对

使用道具 举报

618

主题

9960

回帖

4701

金币

金牌会员

积分
37874

老会员

发表于 2026-2-28 23:28 | 显示全部楼层
蔬菜沙拉 发表于 2026-2-28 20:36
0 ~* _+ J. n' Z% `  X走势飘忽确实难搞,稳着来才能细水长流,下次别急着冲

+ A8 H/ w+ J$ p- y6 y1 d: t; S' p; g+ J& a5 p. ^* ^
能长期保持盈利状态就实属难得
回复 支持 反对

使用道具 举报

2

主题

7680

回帖

7645

金币

金牌会员

积分
37856
发表于 2026-3-1 02:25 | 显示全部楼层
这推注玩法投九千多才收九百出头,走势不定真够磨人的,这收益和投入比看着也挺闹心
回复 支持 反对

使用道具 举报

2

主题

7680

回帖

7645

金币

金牌会员

积分
37856
发表于 2026-3-1 02:26 | 显示全部楼层
一路前行 发表于 2026-2-28 23:28( S3 I. @' D) y# R" g
能长期保持盈利状态就实属难得

6 u, P: d+ W0 j; p% e* y2 W走势那么飘能长期稳着赚真不容易,这次收904也算是熬过来了,别贪稳着来就好
回复 支持 反对

使用道具 举报

1557

主题

8万

回帖

1万

金币

海燕硕士

积分
248745

万时之王老会员精华勋章勤奋勋章交易勋章光影行者

发表于 2026-3-1 05:37 | 显示全部楼层
可以赢这么多钱也是非常厉害的了。
回复 支持 1 反对 0

使用道具 举报

1557

主题

8万

回帖

1万

金币

海燕硕士

积分
248745

万时之王老会员精华勋章勤奋勋章交易勋章光影行者

发表于 2026-3-1 05:37 | 显示全部楼层
蔬菜沙拉 发表于 2026-2-28 20:36
$ p$ m8 v8 H7 u+ j. |走势飘忽确实难搞,稳着来才能细水长流,下次别急着冲

# v3 f1 x6 L5 ?* U4 N" x希望是可以能够保持住这样的好运气吧
回复 支持 反对

使用道具 举报

1557

主题

8万

回帖

1万

金币

海燕硕士

积分
248745

万时之王老会员精华勋章勤奋勋章交易勋章光影行者

发表于 2026-3-1 05:37 | 显示全部楼层
一路前行 发表于 2026-2-28 23:27
7 }; L- I2 j6 x" x( G如此丰厚的回报令人赞叹,这是楼主的实力

/ G. Q& J5 Y0 I! ^) n) x楼主确实是非常有实力的玩家了呢。
回复 支持 反对

使用道具 举报

1557

主题

8万

回帖

1万

金币

海燕硕士

积分
248745

万时之王老会员精华勋章勤奋勋章交易勋章光影行者

发表于 2026-3-1 05:37 | 显示全部楼层
一路前行 发表于 2026-2-28 23:28
& c" J, h4 n: U9 \! T5 y能长期保持盈利状态就实属难得

4 V3 ^7 V7 L5 ~: }# ^% b9 P这个确实是非常难得的事情了呢。
回复 支持 反对

使用道具 举报

您需要登录后才可以回帖 登录 | 立即注册

本版积分规则

广告合作|福利汇|论坛简介|钱包教程|手机版|小黑屋|Archiver|海燕论坛

快速回复 返回顶部 返回列表