找回密码
 立即注册
澳门威尼斯人
U8
U18
海燕招商
A
蓝盾
e世博
islot.
申博亚洲
澳门银河
B
腾博会
德信
C级广告商
吉祥坊
查看: 143|回复: 9

[真人] 经过下注发现节奏完全不对只能止损

 火.. [复制链接]

48

主题

6892

回帖

2080

金币

金牌会员

积分
24019

老会员光影行者

发表于 2026-4-14 16:24 | 显示全部楼层 |阅读模式

马上注册,结交更多好友,享用更多功能,让你轻松玩转社区。

您需要 登录 才可以下载或查看,没有账号?立即注册

×
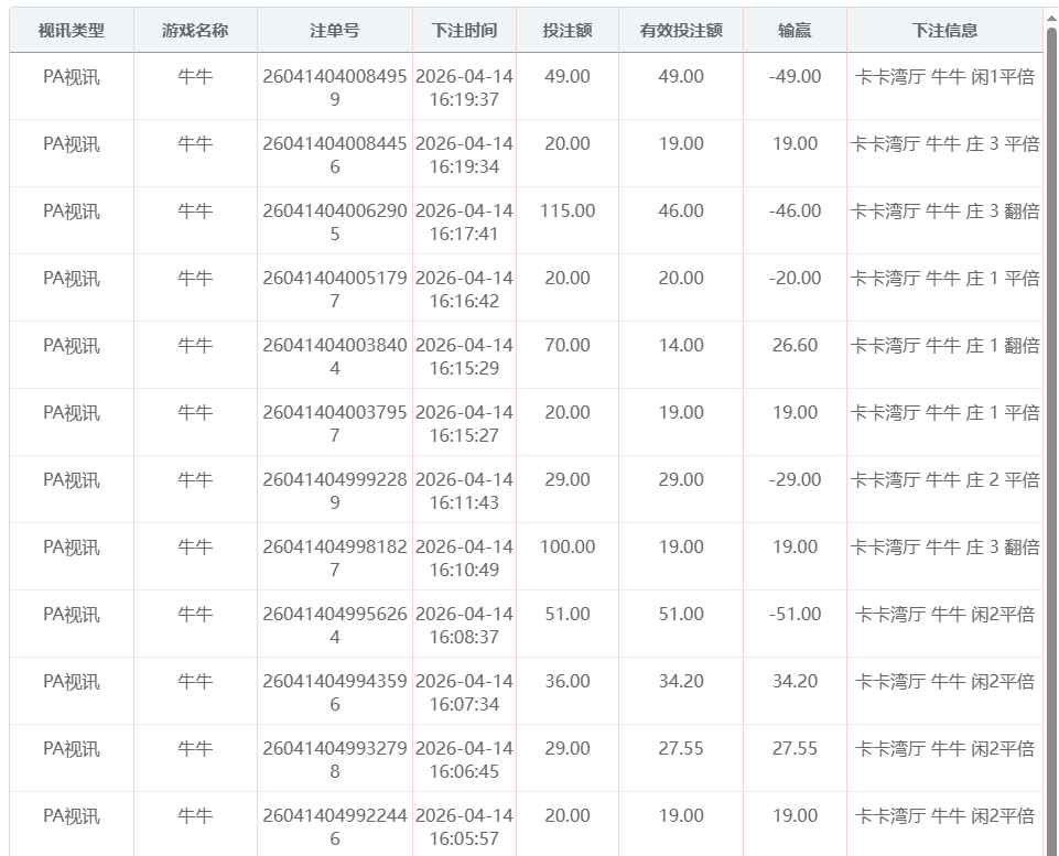
今天下午的真人娱乐节奏是完全不对的,节奏跟不上,只能是看着去亏损完成的
* P7 {$ c: f9 y6 v( ~( S
4 a* J0 W7 y! g6 ^! I 2.jpg $ W9 B5 t. w7 G3 F$ A
1.jpg 7 K2 g* }0 `5 p
" O8 z) r/ a9 g: K/ x: s9 `/ m

评分

参与人数 1金币 +6 收起 理由
海燕RG + 6 实战分享

查看全部评分

回复

使用道具 举报

252

主题

1万

回帖

1932

金币

金牌会员

积分
32803

老会员

发表于 2026-4-14 16:47 | 显示全部楼层
止损是需要做到位的,你做得对
回复 支持 反对

使用道具 举报

74

主题

2773

回帖

673

金币

铜牌用户

积分
8412

老会员

发表于 2026-4-14 16:53 | 显示全部楼层
真人游戏是最怕没有节奏就开始下注,结果自然而然是比较差的
回复 支持 反对

使用道具 举报

1

主题

24

回帖

141

金币

初级用户

积分
370
发表于 2026-4-14 17:54 | 显示全部楼层
   非常可惜这次没有好运来呀。
回复 支持 反对

使用道具 举报

98

主题

2万

回帖

6846

金币

铂金用户

积分
85639

老会员交易勋章魅力达人

发表于 2026-4-14 18:09 | 显示全部楼层
这种时候停下来是对的,感觉不对硬跟只会越陷越深
回复 支持 反对

使用道具 举报

98

主题

2万

回帖

6846

金币

铂金用户

积分
85639

老会员交易勋章魅力达人

发表于 2026-4-14 18:10 | 显示全部楼层
世界杯 发表于 2026-4-14 17:547 g6 Z- I4 o: w, ?+ f" M4 w
非常可惜这次没有好运来呀。

2 s% F1 I8 {  D2 C- r( z运气这东西确实飘忽,及时收手也算稳住阵脚了
回复 支持 反对

使用道具 举报

98

主题

2万

回帖

6846

金币

铂金用户

积分
85639

老会员交易勋章魅力达人

发表于 2026-4-14 18:10 | 显示全部楼层
黑雨衣大盗 发表于 2026-4-14 16:47: d; C6 ]% e# d) T
止损是需要做到位的,你做得对
9 o+ }2 j9 v2 v- o9 N, ~. }+ _, B
止损这步确实挺关键,有时候感觉不对就得及时收手,不然容易陷更深
回复 支持 反对

使用道具 举报

6

主题

216

回帖

1024

金币

高级用户

积分
2742
发表于 2026-4-14 19:44 | 显示全部楼层
这次运气还是不太够给力啊!   
回复 支持 反对

使用道具 举报

3

主题

146

回帖

684

金币

高级用户

积分
1834
发表于 2026-4-14 20:35 | 显示全部楼层
这次就当熟悉规则,下次发力  
回复 支持 反对

使用道具 举报

9

主题

2万

回帖

2512

金币

铂金用户

积分
70366

光影行者

发表于 2026-4-14 20:46 | 显示全部楼层
真人局节奏乱的时候真没法硬刚,及时收手比死磕强,亏少当赚吧
回复 支持 反对

使用道具 举报

您需要登录后才可以回帖 登录 | 立即注册

本版积分规则

广告合作|福利汇|论坛简介|钱包教程|手机版|小黑屋|Archiver|海燕论坛

快速回复 返回顶部 返回列表