找回密码
 立即注册
澳门威尼斯人
U8
U18
海燕招商
A
蓝盾
e世博
islot.
申博亚洲
澳门银河
B
开云
腾博会
德信
C级广告商
吉祥坊
华体会
查看: 226834|回复: 57

[电子] 今天是真的舒服咯。哈哈哈哈哈哈

[复制链接]

562

主题

177

回帖

2510

金币

铜牌用户

积分
8172

老会员

发表于 2024-6-11 16:45 | 显示全部楼层 |阅读模式

马上注册,结交更多好友,享用更多功能,让你轻松玩转社区。

您需要 登录 才可以下载或查看,没有账号?立即注册

×
1.jpg
$ W. O5 K' U! F' e+ y0 r1 l$ h8 A& D, w2 {5 Z* t) p2 q
  P0 a1 N. g$ F' J
步入六月至今,可以说运势都挺不错的,毕竟基本每天三四千的流水就能完成自己认为OK的目标了。
0 G- K. c0 ]4 Q: F
  P2 _6 ~0 t- n% e盈利就更不用说了,尤其今天是真的绝了。
; v4 }8 Y7 E) r/ a- j; g
: P; {6 @1 i5 b- K; @3 s 2.jpg , Y7 {. t* w6 H1 E) b% ]

! G( y4 v6 D1 |4 \( ~5 ?% a$ {4 W5 g6 h9 J
3.jpg " ^& ^/ L* ^- g% x- [
( t6 {% I; q8 E( Y' ]  L( |
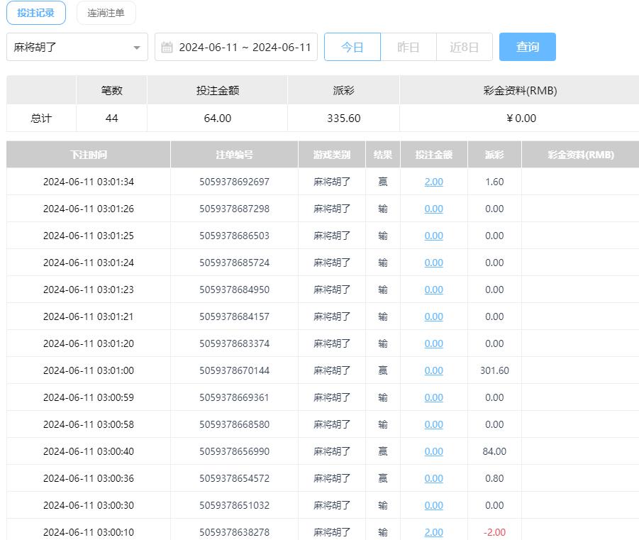
像昨天稍微被bb的麻将胡了坑了一把,今天就回头给我报恩了,开局没几转就出免费转,然后爆了180倍,赢335.0 _0 S# {5 w" v: I
) `, ]% d  C& o5 y. z5 x" P* Z9 |
4.jpg ) }" `; A  v$ h% y$ b5 U. K
' }7 j$ a  U  E. S
% d7 R6 _3 [5 w( Y# _' U, J8 g
5.jpg
# {+ L  w8 U6 ^4 K6 s( E2 {0 G! _+ m8 K

% z6 p5 G8 G1 N3 s& f# E% f财犬也是继续稳定发挥呀,100多转出一个120多倍的,赢200。4 L* `" n$ j3 b( ^% a& p2 u
5 _1 \! a8 e' S
6.jpg ( ~4 h/ v5 J+ b4 t2 k$ G
, X$ U+ V! t2 c4 k9 [6 w6 ^; C
( p( c6 x1 A6 W7 R  B' b
7.jpg 7 y0 O9 e9 ^" R- V: e7 H, o. D% Q( @

( R2 q: G; t* r- K  E" X  d2 X( N' i- ?  s5 D
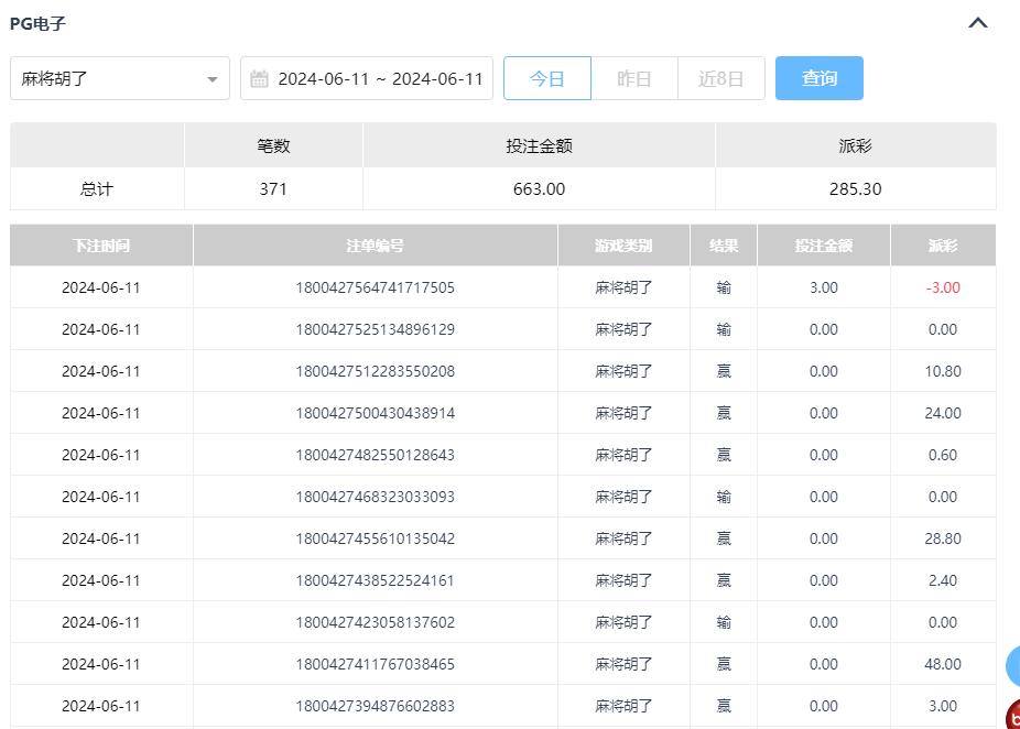
PG的麻将胡了表现也不差,虽然打了300多转才出的免费转,但幸亏是给力的,爆了150多倍,赢280。
6 e5 X) Y/ S) h/ A5 `
. Q1 N: g% g8 _5 W$ r 8.jpg
) z% ?7 k9 d7 |. Q5 y8 o$ b# B  s# Z4 ?/ z5 T

. T+ ~6 D0 o/ A6 m, [4 ~2 y4 b 9.jpg
4 }0 _) X1 r  t( f, o  g8 s. I
# h7 ?1 k5 e: A9 }3 }7 h) [. K4 X; S: E' b1 P0 Y$ a$ }. I) {
/ N% H, X/ e- l0 ]
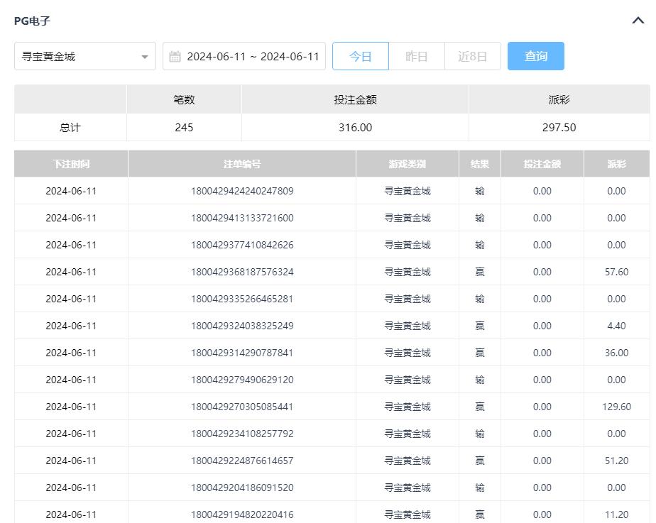
而相比之下寻宝黄金城表现就更给力了,200多转出的免费转,爆了个218倍的,赢300块,实在是舒服。/ {" w$ k  m; o9 o) [
- d5 G: e6 m' `
总的来说,今天一共爆了600多倍,就积分这就有差不多2000分了。
$ v/ N" q/ k- |0 b1 N/ n8 }% L! [7 S2 r$ f' x
利润更别说了,一千多块袋袋平安,实在舒服呀。回头再看看这个月的榜单有没有变化,收获第二重惊喜。嘻。7 ~6 D; t+ Y5 V$ m( _5 G* @
+ Q! f2 H4 w/ A# ~4 t' a% T2 M

, ]" M+ m# M& H% b* p# D5 l
回复

使用道具 举报

头像被屏蔽

102

主题

9137

回帖

2659

金币

禁止发言

积分
23011

老会员美女勋章

发表于 2024-6-11 17:14 | 显示全部楼层
提示: 作者被禁止或删除 内容自动屏蔽
回复 支持 1 反对 0

使用道具 举报

1565

主题

8万

回帖

2万

金币

海燕硕士

积分
252573

万时之王老会员精华勋章勤奋勋章交易勋章光影行者

发表于 2024-6-11 17:15 | 显示全部楼层
楼主每天都是这样的盈利真是太让人羡慕了,希望是可以保持住的吧
回复 支持 反对

使用道具 举报

1565

主题

8万

回帖

2万

金币

海燕硕士

积分
252573

万时之王老会员精华勋章勤奋勋章交易勋章光影行者

发表于 2024-6-11 17:16 | 显示全部楼层
尔不耳不斤 发表于 2024-6-11 17:14
: T' W+ `2 ?7 \1 ^* O搞出来大奖爽翻了,楼主就是老虎机圈子里最靓的仔

) X7 Z* h+ ]! a' {# b楼主确实是非常会玩老虎机,这样的成绩真是太给力了啊
回复 支持 反对

使用道具 举报

3678

主题

7万

回帖

2357

金币

海燕硕士

积分
209460

万时之王老会员勤奋勋章交易勋章

发表于 2024-6-11 17:28 | 显示全部楼层
楼主玩这个老虎机玩的还不错啊,出来好几个大奖轻松收米了
回复 支持 反对

使用道具 举报

3678

主题

7万

回帖

2357

金币

海燕硕士

积分
209460

万时之王老会员勤奋勋章交易勋章

发表于 2024-6-11 17:28 | 显示全部楼层
cwx1994 发表于 2024-6-11 17:16. }6 |* ^! {- i  r' Z& W
楼主确实是非常会玩老虎机,这样的成绩真是太给力了啊

+ h3 Z2 s1 r# H  s# }! A说实话老虎机玩的这么好的没有几个人,大多数人都是输钱的
回复 支持 反对

使用道具 举报

162

主题

1万

回帖

242

金币

金牌会员

积分
21624

老会员交易勋章魅力达人

发表于 2024-6-11 17:32 来自手机 | 显示全部楼层
这样的战绩还是值得跟大家分享的,惊喜接连不断,太意外了
回复 支持 反对

使用道具 举报

1852

主题

6万

回帖

2570

金币

钻石用户

积分
176307

万时之王老会员勤奋勋章交易勋章

发表于 2024-6-11 17:36 来自手机 | 显示全部楼层
cwx1994 发表于 2024-6-11 17:15  L4 Y5 F# m: H
楼主每天都是这样的盈利真是太让人羡慕了,希望是可以保持住的吧
. N$ I7 n) P  C5 \7 O, C. [# }
这个是真的让人非常羡慕的,这个赚到了这么多真的是太厉害了
回复 支持 反对

使用道具 举报

1852

主题

6万

回帖

2570

金币

钻石用户

积分
176307

万时之王老会员勤奋勋章交易勋章

发表于 2024-6-11 17:36 来自手机 | 显示全部楼层
这个是真的太舒服了你的电子玩的一直都是这么狠吗,看来很有经验了。
回复 支持 反对

使用道具 举报

46

主题

1万

回帖

1372

金币

金牌会员

积分
24942

老会员

发表于 2024-6-11 17:57 | 显示全部楼层
老虎机都能够盈利这么多,确实是比较给力的,真的是很不错的啊。
回复 支持 反对

使用道具 举报

1453

主题

1万

回帖

1万

金币

千足金牌会员

积分
56125

老会员财富勋章精华勋章交易勋章热心会员魅力达人

发表于 2024-6-11 18:17 | 显示全部楼层
老哥玩的是顺风顺水啊,希望你每天都能够赚钱吧  细水长流也是不错的啊
回复 支持 反对

使用道具 举报

2412

主题

8万

回帖

6350

金币

海燕硕士

积分
225074

老会员超级精华精华勋章美女勋章勤奋勋章交易勋章万时之王

发表于 2024-6-11 19:14 | 显示全部楼层
每天有这样的舒服成绩也是真的不错的呀,努力了才有这样的一个回报的呀
回复 支持 反对

使用道具 举报

2412

主题

8万

回帖

6350

金币

海燕硕士

积分
225074

老会员超级精华精华勋章美女勋章勤奋勋章交易勋章万时之王

发表于 2024-6-11 19:14 | 显示全部楼层
笑看人生 发表于 2024-6-11 18:17
" c+ C8 ~  ~3 |8 Q7 Z老哥玩的是顺风顺水啊,希望你每天都能够赚钱吧  细水长流也是不错的啊
' x' K- R7 u: z  N- ?
老虎机玩的好才有这样的收入的呀,不是人人可以搞定这样的盈利了
回复 支持 反对

使用道具 举报

2412

主题

8万

回帖

6350

金币

海燕硕士

积分
225074

老会员超级精华精华勋章美女勋章勤奋勋章交易勋章万时之王

发表于 2024-6-11 19:14 | 显示全部楼层
yb454553 发表于 2024-6-11 17:36' k; c/ @, k! r# k- Z
这个是真的让人非常羡慕的,这个赚到了这么多真的是太厉害了

4 y/ c  D# }5 h反正你去试下说不定也有一个好运气,重要的话是要玩起来的呀
回复 支持 反对

使用道具 举报

2412

主题

8万

回帖

6350

金币

海燕硕士

积分
225074

老会员超级精华精华勋章美女勋章勤奋勋章交易勋章万时之王

发表于 2024-6-11 19:15 | 显示全部楼层
12358 发表于 2024-6-11 17:32
& [  S: _# H0 `! |& q这样的战绩还是值得跟大家分享的,惊喜接连不断,太意外了

: Q4 O9 }0 Y- r/ ~, W# h- s9 m希望一直有一个盈利的成绩呀,每天战斗的目标也是这样的呀
回复 支持 反对

使用道具 举报

您需要登录后才可以回帖 登录 | 立即注册

本版积分规则

广告合作|福利汇|论坛简介|钱包教程|手机版|小黑屋|Archiver|海燕论坛

快速回复 返回顶部 返回列表